對焊連接直流式T型過濾器是管道輸送液體過程中清除固體雜質的設備。液體流經過濾器時,其中的雜質被濾出,可保護機泵、壓縮機、儀表和其它設備正常工作。當需要清洗時,只要將可拆卸的濾筒取出,去除濾出的雜質后,重新裝入即可,使用維護極為方便。化工、石油生產及城市供熱中的弱腐蝕性物料。如水、氨、油品、烴類等。化工生產中的腐蝕性物料。如純堿、硫酸、硝酸、醋酸等。制冷、空分生產中的低溫物料。如液甲烷、液氮、液氧及各種冷劑。輕工食品、制藥生產中有衛(wèi)生要求的物料。如啤酒、飲料、醫(yī)藥用品等。對焊連接直流式T型過濾器可攔截的固體顆粒粒徑:131~2032μm。PN1.6~5.0MPa DN50~300殼體材料:鑄鐵、碳鋼、不銹鋼。

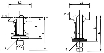
| 名稱 | 公稱直徑 DN(mm) |
PN2.0 | PN5.0 | B(in) | ||||
|---|---|---|---|---|---|---|---|---|
| L2 (mm) | L1(mm) | L(mm) | L2 (mm) | L1(mm) | L(mm) | |||
| 普通型 | 50 | 250 | 149 | 281 | 268 | 158 | 298 | R1/2 |
| (65) | 292 | 170 | 325 | 304 | 179 | 337 | R1/2 | |
| 80 | 312 | 181.5 | 352 | 330 | 195.5 | 370 | R1/2 | |
| 100 | 362 | 267 | 412 | 382 | 225 | 432 | R3/4 | |
| 1 50 | 464 | 259.5 | 539 | 482 | 280 | 557 | R314 | |
| 200 | 560 | 311 | 660 | 578 | 332.5 | 678 | R3/4 | |
| 250 | 636 | 350.5 | 761 | 666 | 383 | 791 | R314 | |
| 300 | 736 | 400 | 886 | 768 | 437 | 91 8 | R3/4 | |
| 350 | 81 2 | 441 | 955 | 844 | 476 | 990 | R3/4 | |
| 400 | 864 | 469 | 1025 | 902 | 509 | 1060 | R3/4 | |
| 名稱 | 公稱直徑 | PN2.0 | PN5.O | B (in) | ||||
|---|---|---|---|---|---|---|---|---|
| DN(mm) | L2(mm) | L1(mm) | L(mm) | L2(mm) | L1(mm) | L(mm) | ||
| 普通型 | 50 | 250 | 235 | 450 | 268 | 235 | 450 | R1/2 |
| (65) | 292 | 265 | 51 0 | 304 | 265 | 510 | R1/2 | |
| 80 | 31 2 | 300 | 570 | 330 | 300 | 570 | R1/2 | |
| 1 00 | 362 | 355 | 700 | 382 | 355 | 700 | R3/4 | |
| 1 50 | 464 | 485 | 900 | 482 | 445 | 900 | R3/4 | |
| 200 | 560 | 510 | 1030 | 578 | 51 0 | 1030 | R3/4 | |
| 250 | 636 | 590 | 1190 | 666 | 590 | 1190 | R3/4 | |
| 300 | 736 | 675 | 1 390 | 768 | 675 | 1390 | R3/4 | |
| 350 | 812 | 740 | 1 550 | 844 | 740 | 1550 | R3/4 | |
| 400 | 864 | 795 | 1 680 | 902 | 795 | 1 680 | R3/4 | |
溫馨提示:
本文中所有文字、數據、圖片均只適用于參考。需要查看更多的對焊連接直流式T型過濾器性能參數、結構尺寸參數、價格等詳情,或要求印刷樣本,請聯系我們。